home
 
   

Termoacumuladores

 
Termoacumulador em Inox - InoxUnit
 
Termoacumuladores para A.Q.S. em Aço Inox AISI-316L
 

Termoacumuladores com uma serpentina de alto rendimento

- Fabricados em Aço Inoxidável AISI-316L
- Suportes para colocar nos modelos até 200 litros ou pés (opcionais)
- Isolamento em lã de rocha e envolvente exterior em ABS
- Elementos opcionais:
- Conjunto termóstato
- Conjunto protecção catódica
- Pressão máxima de funcionamento 7 bar
- Temperatura máxima de funcionamento 60ºC
- Temperatura máxima de funcionamento pontual 80ºC
- Modelos com 1 serpentina de alto rendimento(gama INOXUNIT/ES com versão vertical e horizontal), 2 serpentinas de alto rendimento (gama INOXUNIT/ES só versão vertical)
- Incluem orificio de 2 para conexão de resistência eléctrica

 

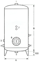
Descrição:

1- saída água quente sanitária
2- Entrada serpentina
3- Recirculação
4- Entrada água fria
5- Esgoto
6- Retorno serpentina
7- Termómetro ou termóstato
8- Boca inspecção e limpeza (opcional)

 
Produtos
 Ar Condicionado
 Radiadores
  Energia Solar Térmica
  Caldeiras
  Termoacumuladores
InoxUnit
  Lareiras
  Salamandras a lenha
 
 
 
 
 
 
Copyright © 2007 HIDROCAVADINHA - Todos os direitos reservados.